调节阀
隔膜阀
切断阀
球阀
平衡阀
 
 
您所在的位置:首页 - 产品集锦
ZAZX型电动三通分流调节阀 质量可靠
公称通径mm
合流
25
32
40
50
65
80
100
125
150
200
250
300
分流
 
 
 
 
 
80
100
125
150
200
250
300
额定流量系数Kv
合流
8.5
13
21
34
52
85
135
210
340
535
800
1260
分流
 
 
 
 
 
85
135
210
340
535
800
1260
公称压力 MPa
1.6 4.0 6.0
流量特性
直线



Ⅱ型
DKZ-310
DKZ-310
DKZ-410
DKZ-510
DKZ-510
Ⅲ型
DKZ-510C
DKZ-310C
DKZ-410C
DKZ-510C
DKZ-510C
出轴推力(N)
4000
4000
6400
16000
16000
行程mm
16
25
40
60
100
上阀盖型式
1.6
1.0
2.5
1.6
1.5
1.0
0.65
0.4
0.3
0.16
0.26
0.18
允许压差(MPa)
普通式(常温型),热片式(中温型)
介质温度℃
-40~230℃(常温型),散热片式230~450℃(中温型),特殊订货-100~600℃
可调比
30:1
法兰标准
铸铁按JB78-59,铸钢按JB79-59
输入阻抗
Ⅱ型:200 Ⅲ型:250
出厂状态
电开(对上阀座而言),如需电关,订货时应注明

电动三通调节阀
性能指标
项目
指标值
基本误差%
≤±3.5
回差%
≤2.5
死区%
≤3.0
始终点偏差%
电开、电关
±2.5
 
±2.5
允许泄量L/H
符合JB/T7387-94Ⅲ 级 小于阀的额定容量×10-3


电动三通调节阀
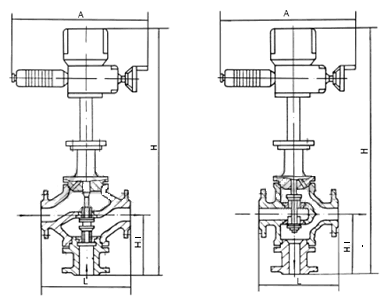
外形尺寸

电动三通合流调节阀

 
电动三通合流调节阀
电动三通分流调节阀
公称
通径
DN
A
L
H
H1
分流
合流
PN1.6
PN4.0
PN6.4
分流
合流
PN1.6
PN4.0
PN6.4
PN1.6
PN4.0
PN6.4
普通型
热片型
普通型
热片型
25
520
490
185
190
200
 
 
715
865
 
 
 
140
150
160
32
520
490
200
210
210
 
 
721
871
 
 
 
150
160
170
40
520
490
220
230
235
 
 
733
883
 
 
 
160
170
180
50
520
490
250
255
265
 
 
748
898
 
 
 
180
190
200
65
520
520
275
285
295
 
 
839
999
 
 
 
200
220
220
80
520
520
305
310
320
872
1032
842
1002
225
250
265
210
230
240
100
520
520
350
355
370
896
1056
846
1006
245
275
285
220
250
260
125
520
520
410
425
440
947
1162
897
1112
284
320
325
260
300
300
150
520
520
450
460
475
947
1162
897
1112
305
340
340
280
320
320
200
520
520
550
560
570
965
1180
905
1120
350
400
410
320
380
380
250
520
520
670
740
750
 
 
 
 
 
 
 
 
 
 
300
520
520
770
805
820
 
 
 
 
 
 
 
 
 
 
 
 
 
ZAZQ散热型电动三通合流调节阀

散热型:铸钢:-40~425℃、铸不锈钢:-60~450℃
ZDLX电子式电动三通分流调节阀

该产品配3610L系列直行程电子式电动执行机构,是引进日本工装技术生产的高性能电动执行机械。机内有伺服系统无需另配伺服放大器。
 

电动三通调节阀订货须知
订货时请填写《规格书》或注明以下内容:
、若订货前还未选定型号,请向我们提供您的使用参数:1.公称通径、额定流量系数KV,
2.流体性质(包括公称压力、温度、粘度或酸碱性),3.阀作用形式(电-关式或电-开式),4.流量特性,
5.阀前、阀后压力,6.阀体、阀芯材料,7.输入信号,8.是否带附件,说明附件型号。以便我们的为您正确选型。
、若已经由设计单位选定我公司的产品型号,请按型号直接向我司销售部订购;
、当使用的场合非常重要或管路比较复杂时,请您尽量提供设计图纸和详细参数,由我们的专家为您审核把关。


 Copyright 2010 浙江久捷自控仪表有限公司 All rights reserved    地址:浙江省永嘉县瓯北安丰工业区国达工业园   技术支持:中国泵阀网     [后台管理]
网络警察报警平台